£83.00 £95.23
YS Alloy Stanchion standard fit on a majority of Sailing Boats
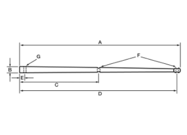
Dimensions
£44.30 £52.65
Allen 16mm Micro Double High Tension Block The Allen high tension stainless steel block range...
£44.55 £52.92
Allen 16mm Micro Double High Tension Block & Becket The Allen high tension stainless steel...
£20.70 £24.87
Allen 16mm Micro Single High Tension Block The Allen high tension stainless steel block range...